人防办政务服务事项“白话版”办事指南之
“城市地下交通干线及其他工程兼顾人民防空需要审查”
该事项包含以下6个业务办理项,网上申报的操作方法一样。
1.城市地下交通干线兼顾人民防空需要审查
2.城市地下综合管廊工程兼顾人民防空需要审查
3.城市单建地下空间兼顾人民防空需要同步建设审查
4.城市单建地下空间兼顾人民防空需要同步建设审查(变更)
5.城市单建地下空间兼顾人民防空需要易地建设审查
6.城市单建地下空间兼顾人民防空需要易地建设审查(变更)
网上申报流程如下:
登录河南政务服务网(百度搜索就可以进入官网)→在地区/部门选择框里选择焦作市、焦作市人民防空办公室(如下图)

点击城市地下交通干线及其他工程兼顾人民防空需要审查事项,根据实际办理事项再进行选择子项,然后点击办事指南。

找到申请材料,对表格进行下载。
1、“城市地下交通干线兼顾人民防空需要审查”申请材料
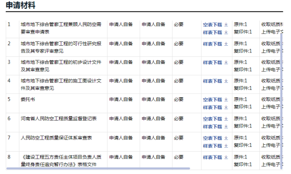
2、“城市地下综合管廊工程兼顾人民防空需要审查”申请材料

3、“城市单建地下空间兼顾人民防空需要同步建设审查”申请材料

4、“城市单建地下空间兼顾人民防空需要同步建设审查(变更)”申请材料

5、“城市单建地下空间兼顾人民防空需要易地建设审查”申请材料

6、“城市单建地下空间兼顾人民防空需要易地建设审查(变更)”申请材料

办理地点、办理时间:
焦作市解放区焦作市政务服务大厅(西厅)一楼人防窗口
周一至周五,法定节假日除外。
夏季:上午08:00-12:00下午15:00-18:00;
冬季:上午08:00-12:00下午14:30-17:30。
联系电话:0391-3568406