实施中等及中等以下学历教育、学前教育、自学考试助学及其他文化教育的学校设立、变更和终止审批
事项名称:
1.实施高中、中专学历及其他文化教育学校的举办者变更;
2.实施高中、中专学历及其他文化教育学校的终止;
3.实施高中、中专学历及其他文化教育学校的设立(未经过筹设的);
4.实施高中、中专学历及其他文化教育学校的校长变更;
5.实施高中、中专学历及其他文化教育学校的地址变更;
6.实施高中、中专学历及其他文化教育学校的校名变更;
7.实施高中、中专学历及其他文化教育学校的设立(经过筹设的)。
办理形式:窗口办理。
办理地址:市政务服务大厅(西厅)一楼社会事务综合受理窗口。
办理时间:
周一至周五, 法定节假日除外
夏季:上午08:00-12:00 下午 15:00-18:00
冬季:上午08:00-12:00 下午 14:30-17:30
固话咨询:0391-2992864
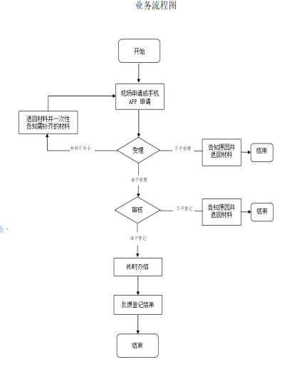
办理流程:
1.受理
办理结果:
(1)材料齐全符合法定形式的出具《受理通知书》;
(2)材料不齐全或不符合法定形式的出具《补正告知书》;
(3)不属于许可范畴或者不属于本机关受理范围的出具《不予受理通知书》。
2.审核
办理结果:对于审查通过的,在政务服务网做出予以办理决定。对于审查不通过,在河南政务服务网做出不予办理决定,出具书面理由,退回材料。
3.决定
办理结果:准予决定,出具对应办结结果,申请人可自取或邮寄。流程图如下:



所需材料:
1.实施高中、中专学历及其他文化教育学校的终止所需材料及样表下载地址:https://www.hnzwfw.gov.cn/portal/guide/4C3F9E652A6A76A1999F3A2062A841AE?region=410800000000
2.实施高中、中专学历及其他文化教育学校的举办者变更所需材料及样表下载地址:https://www.hnzwfw.gov.cn/portal/guide/55E54641164A95ACDC793CB97838437B?region=410800000000
3.实施高中、中专学历及其他文化教育学校的设立(经过筹设的)所需材料及样表下载地址:https://www.hnzwfw.gov.cn/portal/guide/9AD2F2C23ED4D26C43C94E7AD412EC56?region=410800000000
4.实施高中、中专学历及其他文化教育学校的设立(未经过筹设的)所需材料及样表下载地址:
https://www.hnzwfw.gov.cn/portal/guide/903B4822316F3B56EF1F42B1F79E394B?region=410800000000
5.实施高中、中专学历及其他文化教育学校的校长变更所需材料及样表下载地址:https://www.hnzwfw.gov.cn/portal/guide/8A5155AC020BF278883A3C4F871D80D2?region=410800000000
6.实施高中、中专学历及其他文化教育学校的地址变更所需材料及样表下载地址:https://www.hnzwfw.gov.cn/portal/guide/42369CACF9B0789AEF9B628F24BA6BF9?region=410800000000
7.实施高中、中专学历及其他文化教育学校的校名变更所需材料及样表下载地址:
https://www.hnzwfw.gov.cn/portal/guide/4D00338C99A9CA40775CB89A7F441716?region=410800000000